|
РОССИЙСКАЯ ФЕДЕРАЦИЯ
![]() ФЕДЕРАЛЬНАЯ СЛУЖБА ПО ИНТЕЛЛЕКТУАЛЬНОЙ СОБСТВЕННОСТИ, ПАТЕНТАМ И ТОВАРНЫМ ЗНАКАМ |
(19)
RU
(11)
(13)
C1
|
||||
| Статус: | не действует (последнее изменение статуса: 02.07.2021) |
| Пошлина: | учтена за 19 год с 26.06.2014 по 25.06.2015. Патент перешел в общественное достояние. |
|
(21)(22) Заявка: 96113691/06, 25.06.1996 (45) Опубликовано: 10.07.1998 (56) Список документов, цитированных в отчете о поиске: 1. US, 4880032 А, кл. F 16 K 15/18, 1989. 2. RU 2016322 А, кл. F 16 K 11/ 085, 1990. 3. CS 267826, А, кл. F 16 K 11/00, 1989. |
(71) Заявитель(и):
(72) Автор(ы):
(73) Патентообладатель(и):
|
(54) МНОГОХОДОВОЙ КРАН
(57) Реферат:
Изобретение относится к нефтегазодобыче и может быть применено для распределения и изменения направления потока среды в трубопроводах. Кран содержит полый корпус с осевым и проточным каналами, крышку с проточными каналами и распределительный диск с проточными каналами и уплотняющими элементами. Диск связан с управляющей цапфой. Шток цапфы снабжен рычагом с фиксирующим узлом. На одной из его ступеней в осевом канале корпуса установлен разобщитель. Над последующей ступенью штока в корпусе размещены последовательно опорное кольцо, пружинные элементы, прижимная втулка и регулирующий узел для изменения усилия на диск или установлен один или несколько дополнительных разобщителей. Уплотняющие элементы проточных каналов выполнены из износостойкого материала в виде седел или в виде пары полый шар - седло. Проточные каналы в диске и крышке расположены с возможностью их гидравлического сообщения и/или частичного и/или полного разобщения. Изобретение повышает срок службы крана, увеличивает межремонтный период. 10 з.п.ф-лы, 13 ил.
Изобретение относится к нефтегазодобыче и может быть применено для распределения и изменения направления потока в трубопроводах.
Известен многоходовой кран [1], выбранный в качестве аналога, включающий корпус со сквозным каналом и по меньшей мере двумя проходными каналами, пересекающими сквозной канал, на одной стороне которого выполнены входные каналы, а на противоположной стороне - выходные каналы, запорный элемент в сквозном канале корпуса, имеющий два сквозных отверстия, которые в первом положении запорного элемента становятся частью проходных каналов, а во втором положении круговые выемки запорного элемента совпадают с проходными каналами, причем в выемках размещены сжатые резиновые пробки.
Известен многопозиционный вентиль [2], выбранный также в качестве аналога, содержащий размещенный в корпусе с четырьмя попарно перпендикулярными боковыми патрубками затвор с хвостовиком и боковыми параллельными лысками.
Известен четырехходовой кран [2], выбранный в качестве прототипа, включающий полый корпус с осевым и проточным каналами, крышку с проточными каналами, установленный в корпусе над проточными каналами крышки распределительный диск с проточными каналами и уплотняющими их элементами, связанный с управляющей цапфой со штоком, снабженным рычагом с фиксирующим узлом. Этот кран не предусматривает регулирование усилий на уплотняющие элементы и центровку диска, что в результате снижает его надежность и герметичность между пропускными проточными каналами диска и крышки. Также он не предусматривает одновременного или последовательного распределения среды по различным направлениям, изменения пропускных сечений проточных каналов, закрытия всех или части пропускных сечений проточных каналов крана, в зависимости от условий эксплуатации.
Задачей изобретения является повышение эффективности, надежности и функциональной возможности работы многоходового крана.
Технический результат от использования изобретения заключается в повышении срока службы крана, увеличении межремонтного периода и/или дебита скважины.
Технический результат достигается за счет того, что в многоходовом кране, включающем полый корпус с осевым и проточным каналами, крышку с проточными каналами, установленный в корпусе над проточными каналами крышки распределительный диск с проточными каналами и уплотняющими их элементами, связанный с управляющей цапфой со штоком, снабженным рычагом с фиксирующим узлом, согласно изобретению, шток цапфы выполнен ступенчатым, на одной из его ступеней в осевом канале корпуса установлен разобщитель, а над последующей ступенью штока в корпусе размещены последовательно опорное кольцо, пружинные элементы, прижимная втулка и регулирующий узел для изменения усилия на диск или установлен один или несколько дополнительных разобщителей, при этом уплотняющие элементы проточных каналов выполнены из износостойкого материала в виде седел или в виде пары полый шар - седло, а сами проточные каналы в диске и крышке расположены с возможностью их гидравлического сообщения и/или частичного и/или полного разобщения. Эти решения позволяют регулировать усилия на диск, повысить герметичность проточных каналов и расширить функциональные возможности работы крана.
На обращенных друг к другу поверхностях диска и цапфы могут быть выполнены одна или несколько пар центрирующих каналов, в которых установлена пята или щар для равномерности прижатия диска к крышке, Разобщитель может быть выполнен в вида размещенной в корпусе втулки с внутренними и наружными уплотнителями или в виде уплотнительных колец, размещенных на штоке цапфы или в цилиндрической выточке на поверхности осевого канала корпуса.
Многоходовой кран может быть снабжен узлом зарядки, размещенным в цилиндрическом канале, выполненном в корпусе или в штоке, при этом полость между основным и дополнительным разобщителями заполнена сжатой средой для обеспечения полжима диска к крышке за счет давления сжатой среды.
Полость корпуса между основным и дополнительным разобщителями может быть гидравлически сообщена с проточным каналом или полостью корпуса, а полость, образованная между дополнительными разобщителями, гидравлически связана с атмосферой иди проточным каналом крышки с целью использования высокого давления потока среды для создания поджима диска к крышке.
Пружинные элементы могут быть выполнены в виде тарельчатых пружин для создания усилия на диск.
На штоке цапфы под основным разобщителем в осевом канале корпуса может быть установлена упорная втулка для исключения динамической нагрузки на уплотняющую втулку.
На диске могут быть выполнены дополнительные каналы, в которых под цапфой размещены спиральные пружины для создания усилия на диск и возможности перемещения диска с полыми шарами.
Над регулирующим узлом штока цапфы может быть установлена опорная втулка.
По меньшей мере два проточных канала диска могут быть выполнены глухими для гидравлического сообщения каналов крышки и изменения направления потока среды.
Диск может быть выполнен с вырезами, при этом проточные каналы диска образованы в сопряжении диска с крышкой, причем по меньшей мере два проточных канала крышки гидравлически соединены одним из вырезов с целью распределения и изменения направления потока среды.
На фиг. 1 - 13 приводится многоходовой кран и его узлы в разных исполнениях, при этом на фиг. 1 изображен кран в разрезе; на фиг. 2 - узел крепления цапфы к распределительному диску, в котором использован шар для равномерности прижатия; на фиг. 3 и 4 - варианты выполнения разобщителя; на фиг. 5 - положение упорной втулки в осевом канале корпуса; на фиг. 6 - уплотняющие элементы в виде пары шар-седло; на фиг. 7 и 8 - варианты выполнения проточных каналов с возможностью их полного гидравлического сообщения; на фиг. 9 - проточные каналы, выполненные с возможностью их частичного разобщения; на фиг. 10 - каналы, полностью разобщенные; на фиг. 11 - вариант выполнения полностью разобщенных каналов; на фиг. 12 - проточные каналы с возможностью частичного разобщения; на фиг. 13 - расположение вырезов на распределительном диске.
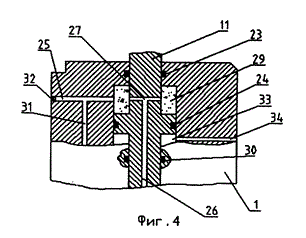
Многоходовой кран /фиг. 1/ включает полый корпус 1 с осевым 2 и проточным 3 каналами, крышку 4 с проточными каналами 5, установленный в корпусе 1 над проточными каналами 5 крышки 4 распределительный диск 6 с двумя и более проточными каналами 7, 8 и уплотняющими их элементами 9, связанный с управляющей цапфой 10 со штоком 11, снабженным рычагом 12 с фиксирующим узлом 13. Шток 11 цапфы 10 выполнен ступенчатым, на одной из его ступеней в осевом канале 2 корпуса 1 установлен разобщитель, например в виде уплотняющей втулки 14. Над последующей ступенью штока 11 в корпусе 1 размещены последовательно опорное кольцо 15, пружинные элементы, например в виде тарельчатых пружин 16, прижимная втулка 17 и регулирующий узел 18 для изменения усилия на диск 6. На обращенных друг к другу поверхностях диска 6 и цапфы 10 могут быть выполнены одна или несколько пар центрирующих каналов 19 и 20, в которых установлены пята 21 или шар 22 /фиг. 2/ для равномерности прижатия диска 6.
Разобщитель может быть выполнен в виде размещенных в корпусе 1 втулки 14 с внутренними и наружными уплотнителями или в виде уплотнительных колец 23 или 24 /фиг.3, 4/ размещенных на штоке 11 цапфы 10 или в цилиндрической выточке на поверхности осевого канала 2 корпуса 1. В корпусе 1 может быть установлен дополнительный разобщитель, например, выполненный также в виде уплотнительных колец 23 или 24. На корпусе 1 или в штоке 11 выполнены цилиндрические канал 25 или гидравлически связанные каналы 26 и 27. В цилиндрическом канале 25 или 26 может быть размещен узел зарядки 28 /фиг. 3/, при этом полость 29 корпуса 1 между основным в виде уплотнительного кольца 23 и дополнительным в виде уплотнительного кольца 24 разобщителями заполнена сжатой средой. В корпусе 1 или на штоке 11 могут быть установлены несколько дополнительных разобщителей, например, выполненных также в виде уплотнительных колец 24 и 30 /фиг. 4/. Также в корпусе 1 может быть выполнен канал 31, при этом в цилиндрическом канале 25 установлена пробка 32. Также полость 29 может быть гидравлически сообщена через канал 25 или 31 с проточным каналом 3 или с внутренней полостью корпуса 1, а полость 33, образованная между дополнительными разобщителями 24 и 30, гидравлически связана через канал 34 с атмосферой или с проточным каналом 5 крышки 4.
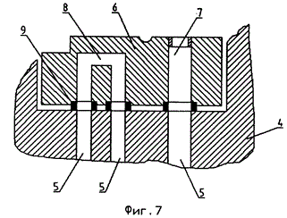
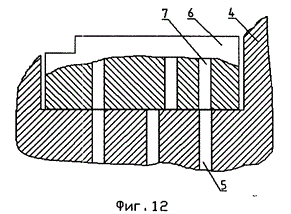
На штоке 11 цапфы 10 под разобщителем 14 в осевом канале 2 корпуса 1 может быть установлена упорная втулка 35 /фиг. 5/. На диске 6 могут быть выполнены дополнительные каналы 36, в которых под цапфой 10 размещены спиральные пружины 37. Над регулирующим узлом 18 штока 11 цапфы 10 может быть установлена опорная втулка 38. Уплотняющие элементы 9 проточных каналов 7, 8 диска 6 выполнены из износостойкого материала в виде седел или в виде пары полый шар 39 - седло 40 /фиг. 6/, а сами проточные каналы 7, 8 в диске 6 и проточные каналы 5 в крышке 4 расположены с возможностью их гидравлического сообщения /фиг. 1, 6, 7, 8/ через седла или каналы 41 шаров 39 и/или частичного /фиг. 9, 12/ и/или полного /фиг. 10, 11/ разобщения. По меньшей мере два проточных канала 8 диска 6 могут быть выполнены глухими /фиг. 7, 9/. Диск 6 может быть выполнен с вырезами 42 и 43 /фиг. 13/, при этом проточные каналы 7 и 8 диска 6 образованы в сопряжении диска 6 с крышкой 4, причем по меньшей мере два проточных канала 5 крышки 4 гидравлически соединены одним из вырезов 42.
Многоходовой кран может быть использован при закачке рабочей среды в скважины для функционирования работы гидропоршневых или струйных насосов. Для этого соединяют канал 3 корпуса 1 с одной или несколькими линиями подачи рабочей среды, а проточные каналы 5 крышки 4 - с групповой замерной установкой /общим коллектором/, с полостью насосно-компрессорных труб и затрубным пространством скважины /фиг. 1/. В процессе эксплуатации рабочая среда через канал 3 поступает в скважину, проходя через проточные каналы 7 и 5 диска 1 и крышки 4, а добываемая продукция из скважины поступает в групповую замерную установку или общий коллектор через проточные каналы 8 и 5 диска 6 и крышки 4. В случае необходимости изменения направления рабочей среды из трубной полости в затрубную или наоборот, а также подачи ее в замерную установку /общий коллектор/ или гидравлического соединения трубной и затрубной полостей скважины, вращают диск 6 по оси с помощью рычага 12, тем самым изменяют расположение проточных каналов 7 и 8. Также вращение диска 6 может быть обеспечено существующим автоматическим управлением, при этом автоматическое устройство вращения связывают со штоком 11 цапфы 10.
Герметичность между проточными каналами 7, 8 и 5 обеспечивается с помощью износостойких / например, медных, стальных, латунных, второпластовых, резиновых и т.д./ уплотнительных элементов в виде седел 9 /фиг. 1/ или в виде пары - полый шар 39 - седло 40 /фиг. 6/. Поджим диска 6 к крышке 4 /для обеспечения герметичности проточных каналов 7, 8 и 5/ происходит за счет пружинного элемента 16, который создает упругомеханический поджим диска 6 к крышке 4 через шток 11 цапфы 10, либо за счет гидравлического усилия на шток 11 под давлением сжатой или рабочей среды в полости 29. При этом заданное давление в полости 29 действует на разности площадей штока 11, что создает усилие на диск 6 через цапфу 10.
Таким образом, эти конструкции /фиг. 1, 3, 4/ служат для поджима диска 6 к крышке 4 и обеспечивают герметичность проточных каналов 7, 8 и 5. Причем, для обеспечения хорошей герметичности между проточными каналами 7, 8 и 5 диска 6 и крышки 4, в зависимости от величины входного давления рабочей среды, увеличивают усилие на диск 6 либо путем развинчивания регулирующего узла 18 в корпусе 1, либо путем изменения давления сжатой или рабочей среды в полости 29.
Распределительный диск 6 относительно неподвижной крышки 4 при выполнении уплотняющего элемента в виде пары - полый шар 39 - седло 40 поворачивается за счет перемещения диска 6 вдоль оси, прижимая пружины 37 /фиг. 5/, установленные между цапфой 10 и диском 6 или поднимая шток 11 за счет прижатия пружины 16 или за счет сжатия среды в полости 29 /фиг. 3, 4/. То есть при определенном вращающем усилии на рычаг 12 диск 6 с полыми шарами 39 вращается относительно неподвижной крышки 4, полые шары 39 выходя из контакта с седлами 40, попадают в другие седла 40 и тем самым изменяют направление потока.
При использовании рабочей среды в качестве поджима диска 6 к крышке 4 входное давление рабочей среды через каналы 26 и 31 действует на шток 11 в полости 29. В случае использования в качестве поджима диска 6 сжатой среды полость 29 заполняют этой средой через узел зарядки 28.
Многоходовой кран может быть применен для распределения рабочей среды по скважинам, например при газлифтной эксплуатации. Для этого рабочую среду подают в канал 3 корпуса 1 и распределяют по скважинам через каналы 5 крышки 4 /фиг. 8, 12/. Также этот кран может быть использован для изменения направления рабочего газа из газлифтной скважины на выкидной коллектор /фиг. 1, 7, 9, 13/. Пропускное сечение проточных каналов 7, 8 может быть изменено /фиг. 9/ путем вращения рычага 12 и фиксации его в разных положениях с помощью фиксатора 13. Также, вращая рычаг 12 в заданном полонении, можно обеспечить полное закрытие сечения проточных каналов 7 и 5 /фиг. 10, 11/ для прекращения движения потоков среды через кран.
Кран может быть применен в качестве многоходового переключателя скважин, т.е. для направления продукции скважин в очередном порядке в групповую замерную установку. Также он может быть использован для гидравлического сообщения линии нагнетания рабочей среды с трубным и затрубным пространством газлифтной скважины, соединения трубного и затрубного пространства газлифтной, фонтанной и насосной скважин, а также для переключения их продукции с замерной установки в общий выкидной коллектор или наоборот.
Формула изобретения
1. Многоходовой кран, содержащий полый корпус с осевым и проточным каналами, крышку с проточными каналами, установленный в корпусе над проточными каналами крышки распределительный диск с проточными каналами и уплотняющими их элементами, связанный с управляющей цапфой со штоком, снабженным рычагом с фиксирующим узлом, отличающийся тем, что шток цапфы выполнен ступенчатым, на одной из его ступеней в осевом канале корпуса установлен разобщитель, а над последующей ступенью штока в корпусе размещены последовательно опорное кольцо, пружинные элементы, прижимная втулка и регулирующий узел для изменения усилия на диск или установлен один или несколько дополнительных разобщителей, при этом уплотняющие элементы проточных каналов выполнены из износостойкого материала в виде седел или в виде пары полый шар - седло, а сами проточные каналы в диске и крышке расположены с возможностью их гидравлического сообщения и/или частичного и/или полного разобщения.
2. Кран по п.1, отличающийся тем, что на обращенных друг к другу поверхностях диска и цапфы выполнены одна или несколько пар центрирующих каналов, в которых установлена пята или шар для равномерности прижатия.
3. Кран по п.1 или 2, отличающийся тем, что разобщитель выполнен в виде размещенной в корпусе втулки с внутренними и наружными уплотнителями или в виде уплотнительных колец, размещенных на штоке цапфы или в цилиндрической выточке на поверхности осевого канала корпуса.
4. Кран по пп. 1, 2 или 3, отличающийся тем, что он снабжен узлом зарядки, размещенным в цилиндрическом канале, выполненном в корпусе или в штоке, при этом полость между основным и дополнительным разобщителями заполнена сжатой средой.
5. Кран по пп.1, 2 или 3, отличающийся тем, что полость между основным и дополнительным разобщителями гидравлически сообщена с проточным каналом или полостью корпуса, а полость, образованная между дополнительными разобщителями, гидравлически связана с атмосферой или проточным каналом крышки.
6. Кран по п.1, отличающийся тем, что пружинные элементы выполнены в виде тарельчатых пружин.
7. Кран по п.1 или 3, отличающийся тем, что на штоке цапфы под основным разобщителем в осевом канале корпуса установлена упорная втулка.
8. Кран по п.1 или 7, отличающийся тем, что на диске выполнены дополнительные каналы, в которых под цапфой размещены спиральные пружины.
9. Кран по пп.1, 7 или 8, отличающийся тем, что над регулирующим узлом штока цапфы установлена опорная втулка.
10. Кран по п.1, отличающийся тем, что по меньшей мере два проточных канала диска выполнены глухими.
11. Кран по п.1, отличающийся тем, что диск выполнен с вырезами, при этом проточные каналы диска образованы в сопряжении диска с крышкой, причем по меньшей мере два проточных канала крышки гидравлически соединены одним из вырезов.











ИЗВЕЩЕНИЯ
QB4A - Регистрация лицензионного договора на использование изобретения
Дата и номер государственной регистрации предоставления права использования по договору:
29.02.2008
(21) Регистрационный номер заявки: 0096113691
Лицензиар(ы): Шарифов Махир Зафар оглы, Егорин Олег Анатольевич
Вид лицензии*:
Лицензиат(ы): Общество с ограниченной ответственностью Научно-техническое предприятие "Нефтегазтехника"
Договор №
Извещение опубликовано: 10.04.2008БИ: 10/2008
ИЛ - исключительная лицензия НИЛ - неисключительная лицензия
MM4A Досрочное прекращение действия патента из-за неуплаты в установленный срок пошлины за поддержание патента в силе
Дата прекращения действия патента: 26.06.2015
Дата публикации: 10.03.2016
