|
РОССИЙСКАЯ ФЕДЕРАЦИЯ
![]() ФЕДЕРАЛЬНАЯ СЛУЖБА ПО ИНТЕЛЛЕКТУАЛЬНОЙ СОБСТВЕННОСТИ, ПАТЕНТАМ И ТОВАРНЫМ ЗНАКАМ |
(19)
RU
(11)
(13)
C1
|
||||
| Статус: | не действует (последнее изменение статуса: 02.07.2021) |
| Пошлина: | учтена за 8 год с 08.04.2001 по 07.04.2002. Патент перешел в общественное достояние. |
|
(21)(22) Заявка: 94012331/06, 07.04.1994 (45) Опубликовано: 27.01.1998 (56) Список документов, цитированных в отчете о поиске: SU, авторское свидетельство, 1326770, кл. F 03 G 3/00, 1987. |
(71) Заявитель(и):
(72) Автор(ы):
(73) Патентообладатель(и):
|
(54) ВОЗДУШНО-ВОДЯНОЙ ДВИГАТЕЛЬ
(57) Реферат:
Использование: в гидроэнергетике, в частности в мелиорации и грузоподъемных работах на воде. Сущность изобретения: воздушно-водяной двигатель содержит опору с установленным на ней на горизонтальной оси рабочим колесом, на ободе которого расположены камеры, сообщенные между собой посредством пустотелых спиц, отличающихся тем, что двигатель снабжен компрессором, двумя ресиверами, воздушными золотниками и двумя закрепленными на опоре дугами и упорами, при этом обод выполнен в виде трубчатых осей с наружной прямоугольной пластиной, а камеры - в виде охватывающих оси и пластины корпусов, боковые стенки которых представляют собой незамкнутый цилиндр с внутренней радиальной стенкой, контактирующей с осью, а торцевые фланцы корпусов установлены на последней посредством подшипников, ресиверы установлены на концах оси колеса и сообщены с компрессором и внутренними полостями камер, осей и спиц, воздушные золотники установлены на спицах с возможностью взаимодействия с упорами, а дуги расположены с возможностью контакта с боковыми стенками корпусов камер, причем одна из дуг размещена в нижней части колеса снаружи от корпусов, а другая - в верхней части с их внутренней стороны. 8 ил.
Изобретение относится к двигательным устройствам, применяемым в областях техники, связанных с использованием воды, где устройство способно преобразовывать выталкивающие силы воды во вращательное движение при конструктивной простоте, высокой экономичности и экологичности.
Использование: мелиорация, грузоподъемные работы на воде.
Сущность изобретения: двигатель содержит рабочее колесо, на котором установлены рабочие камеры, воздушные ресиверы и патрубки для отвода и подвода воздуха, камеры соединены с воздушными ресиверами, полыми спицами. Каждая камера установлена с возможностью поворота на полой оси с отверстиями и перегородкой и снабжена люком для забора и отвода воды. Устройство использует сжатый воздух, вырабатываемый компрессором, приводимым в действие электромотором.
Наиболее близким аналогом является водяное колесо, описанное в авторском свидетельстве СССР N 1326770, кл. F 03 G 3/00, 1987, содержащее кожух с подводящим и отводящим соосными водоводами, камеры с эластичными перегородками, попарно соединенные полыми спицами, выполненные в виде каналов МГД - генератора, спицы и камеры заполнены электропроводящей жидкостью с удельным весом, отличным от удельного веса воды.
Недостатком является сложность устройства, необходимость обеспечения полной герметичности электропроводящих узлов, работающих в водной среде, для предотвращения выброса эл. проводящей жидкости.
Задачей изобретения является создание безопасного двигателя упрощенной конструкции.
Указанный технический результат достигается тем, что в двигателе, содержащем рабочее колесо, на полых спицах которого установлены рабочие камеры, снабженные перегородками, рабочее колесо установлено с возможностью вращения на центральной оси, закрепленной на несущей раме, и снабжено воздушными ресиверами и патрубками для подвода и отвода воздуха, установленными на концах оси, а каждая рабочая камера выполнена в виде цилиндрической емкости, установленной с возможностью поворота на полой оси с отверстиями и снабжена люком для забора и отвода воды, выполненным в виде продольной выемки, причем, перегородка выполнена в виде пластины, установленной на оси камеры, при этом на несущей раме жестко закреплены направляющие дуги, а рабочие камеры посредством полых спиц, снабжены золотниками, соединены с воздушными ресиверами и установлены с возможностью контактирования с направляющими дугами.
Устройство в рабочих камерах люка для забора воды /и удаления/ и установка воздушных ресиверов на концах полых спиц, соединенных с компрессором, позволяет использовать в качестве рабочего агента воду и воздух. В результате устройство может работать в любой водной среде. Является экологически чистым и несложным в конструктивном выполнении.
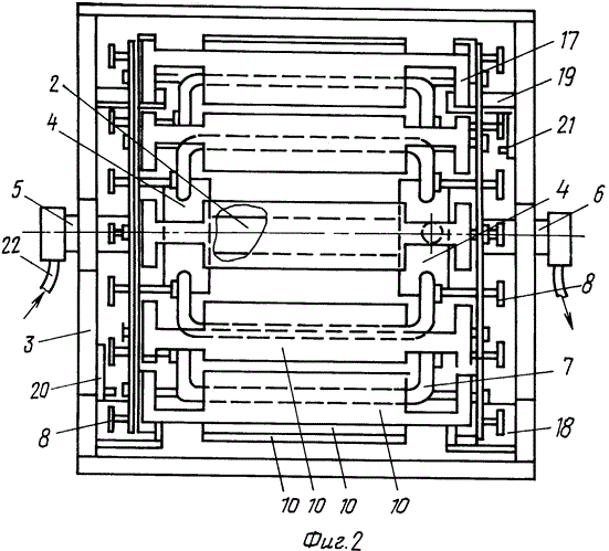
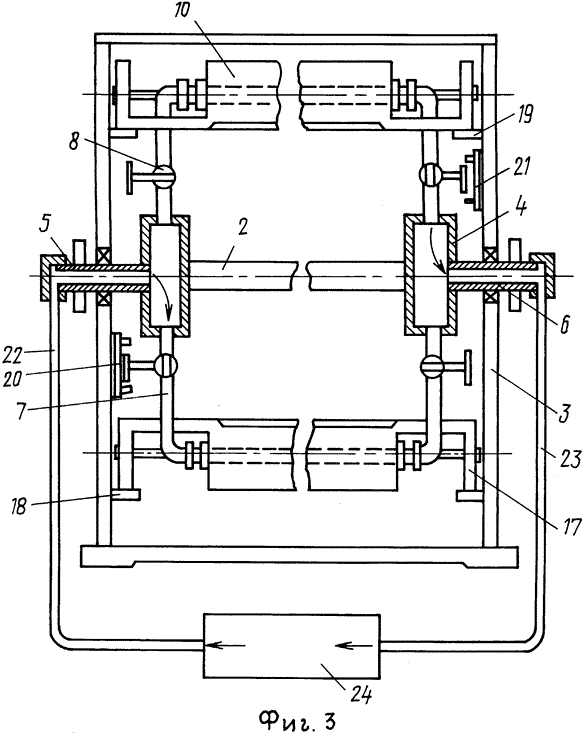
На фиг. 1 изображено предлагаемое устройство, вид спереди; на фиг. 2 - то же, вид сбоку; на фиг. 3 - пневматическая схема устройства; на фиг. 4 - положение рабочих камер, вид спереди; на фиг. 5 - рабочая камера, заполненная воздухом, поперечных разрез; на фиг. 6 - то же, заполненная водой; на фиг. 7 - ось рабочей камеры с разделительной перегородкой, аксонометрия; на фиг. 8 - рабочая камера, аксонометрия.
Водяной двигатель содержит рабочее колесо 1, установленное на центральной оси 2, жестко закрепленной на несущей раме 3. На концах оси 2 установлены воздушные ресиверы 4. На одном конце оси установлен патрубок 5 подвода воздуха, на другом - патрубок 6 отвода воздуха. К ресиверам подсоединены полые спицы 7, на которых установлены золотники 8. Каждая пара полых спиц расположена на концах центральной оси друг против друга, соединена посредством полой оси 9, на которой с возможностью поворота на 320o установлена рабочая камера 10, а внутри нее - жесткая перегородка 11.
В полой оси 9 выполнены отверстия 12.
Камера 10 снабжена люком 13 для забора воды, выполненным в виде продольной выемки в кожухе 14 рабочей камеры 10, причем, один край выемки снабжен радиальной перегородкой 15. Рабочая камера снабжена фланцами 16 (на подшипниках) и опорными ободами 17. На несущей раме 3 установлены наружные 18 и внутренние 19 направляющие дуги, панели упоров 20 и 21, трубопроводы 22 и 23 соединены с патрубками подвода 5 и отвода 6 воздуха соответственно и с компрессором 24, образуя, таким образом, замкнутую воздушную систему.
В предпусковой момент все камеры колеса (затоплены) заполнены водой и имеют положение, изображенное на фиг. 6. Панель упоров 20 (подвижная), имеющая два упора на определенном расстоянии друг от друга, находятся в створе верхнего уровня замены сред. Контакт дуг 18 и 19 с ободами 17 камер отсутствует, колесо не вращается.
Движение панели упоров 20 вниз по часовой стрелке сопровождается включением компрессора 24. Первый упор панели 20 открывает золотник 8 камеры "Ж", которая по мере заполнения сжатым воздухом разворачивается /колесо не двигается/ вокруг своей неподвижной оси 9, при этом разделительная пластина 11 вытесняет из полости камеры 10 воду, освобождая эту полость для нагнетаемого воздуха, продолжая свое движение панель 20 к моменту заполнения камеры 10 воздухом и разворота ее в 320o, воздействуя своим вторым упором на золотник 8, срабатывает его на закрытие, т.к. камера "Ж" заполнена воздухом, и принимает положение камеры, изображенной на фиг. 5.
Продолжающая свое движение (вниз) по часовой стрелке панель упоров 20 с помощью своих упоров последовательно взаимодействует с золотниками 8 камер Е, Д, Г, В и Б, которые принимают аналогичные положения камеры "Ж". Увеличивающаяся выталкивающая сила окружающей воды воздействует на сторону колеса с этими камерами, принуждая его на вращательное движение вверх против часовой стрелки. В этот момент дуги 18 и 19 вступают в контакт с ободами 17 ближайших камер, а панель упоров 20 останавливается и фиксируется в створе нижнего уровня замены сред.
Текущий процесс работы колеса происходит следующим образом (фиг. 4). В верхней сфере замены сред изображен момент контакта камер "И", "З" с направляющими дугами 19. Камера "И", здесь завершен процесс замены воздуха на воду через люк 13, где второй упор панели 21 закрыл золотник 8, отсос воздуха прекращен, завершен колебательный разворот камеры "И" в 320o, она сходит с дуги наката 19, наполненная водой.
В камере "З" идет процесс замены сред, и обода 17 прокатываются по дугам 19, что приводит к вращательному движению ее корпуса вокруг неподвижной оси 9 с отверстиями, через которые отсасывается воздух, вдобавок сжимаемый разделительной пластиной 11, за счет жесткого неподвижного крепления на этой оси и радиальной (скользящей) перегородкой 15, т.е. "уходит" (удаляется) через отверстия в оси спицы, патрубок - в компрессор 24, параллельно с этим через люк 13 камера интенсивно заполняется окружающей водой.
На диаметрально противоположной стороне колеса в нижнем секторе замены сред происходит противоположный процесс, где изображен момент контакта ободов 17 камер "В", "Б" с дугами 18. Камера "В" - здесь завершен процесс замены сред, т.е. воды на воздух, которая (вода) "ушла", удалена через люк 13, второй упор панели 20 закрыл золотник 8 закачки воздуха, завершен колебательный разворот камеры на 320o, она сходит с дуги 18. На камеру, наполненную воздухом, начинают действовать выталкивающие силы окружающей воды.
В следующей камере "Б" идет процесс замены сред, ее обода 17 подкатываются по дугам 18, что приводит к вращательному движению корпуса камеры вокруг неподвижной оси с отверстиями по ее длине и жестко закрепленной на ней разделительной пластиной 11, между ней и /скользящей/ радиальной перегородкой 15 образуется вакуумное пространство, которое быстро заполняется нагнетаемым компрессором 24 воздухом, т.к. упор панели 20, уже открыл золотник 8 камеры. В этот же момент с помощью разделительной пластины 11, через люк 13 идет сброс воды из камеры. Подобные поочередно и автоматически происходящие действия с камерами колеса, где относительно вертикали через его ось с одной стороны /колеса/ камеры заполняются /заполнены/ воздухом, а с другой - водой, создаются условия появления выталкивающих сил окружающей воды, приводящие колесо во вращательное движение.
Формула изобретения
Воздушно-водяной двигатель, содержащий опору с установленным в ней на горизонтальной оси рабочим колесом, на ободе которого расположены камеры, сообщенные между собой посредством пустотелых спиц, отличающийся тем, что двигатель снабжен компрессором, двумя ресиверами, воздушными золотниками и двумя закрепленными на опоре дугами и упорами, при этом обод выполнен в виде трубчатых осей с наружной прямоугольной пластиной, а камеры в виде охватывающих оси и пластины корпусов, боковые стенки которых представляют собой незамкнутый цилиндр с внутренней радиальной стенкой, контактирующей с осью, а торцевые фланцы корпусов установлены на последней посредством подшипников, ресиверы установлены на концах оси колеса и сообщены с компрессором и внутренними полостями камер, осей и спиц, воздушные золотники установлены на спицах с возможностью взаимодействия с упорами, а дуги расположены с возможностью контакта с боковыми стенками корпусов камер, причем одна из дуг размещена в нижней части колеса снаружи от корпусов, а другая в верхней части с их внутренней стороны.






ИЗВЕЩЕНИЯ
MM4A - Досрочное прекращение действия патента Российской Федерации на изобретение из-за неуплаты в установленный срок пошлины за поддержание патента в силе
Дата прекращения действия патента: 07.04.2002
Извещение опубликовано: 27.12.2003БИ: 36/2003
